
The balance link is a core component of the suspension system in tracked special-purpose vehicles.
It works in conjunction with elastic elements such as the torsion bar and shock absorbers to provide elastic support between the vehicle body and the road wheels.
The balance arm transfers the significant impact energy generated by the vertical movement of the road wheels to the torsion bar, cushioning and absorbing vibration energy.
This reduces the impact forces on the vehicle body, enhances passenger comfort, minimizes component damage, and ensures the vehicle’s stability and maneuverability when traveling on rough terrain.
A typical balance link assembly consists of a splined shaft, a balance link, and a road wheel shaft.
The Z-shaped balance link is an integrated design that combines all three components into a single unit.
This integrated balance link offers high maneuverability, high reliability, and lightweight construction, making it widely used in modern special-purpose vehicles.

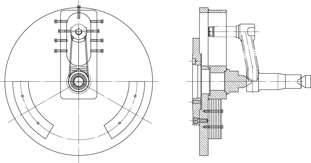
Analysis of the Balancing Crank Structure and Machining Challenges
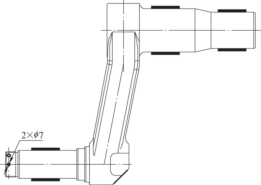
The Z-shaped balancing crank structure, as shown in Figure 1, features an irregular eccentric design.
It is large in size, heavy, and requires a high material removal rate.
It demands high-dimensional and geometric accuracy, involves a lengthy machining cycle, and requires numerous processes.
The manufacturing process involves a variety of equipment, including horizontal boring machines, CNC lathes, machining centers, broaching machines, or wire-cut EDM machines, as well as multiple trades.
In past production, numerous issues have emerged at various stages of the process, such as out-of-tolerance outer diameter dimensions, misalignment between the spline bore and the outer diameter, non-parallel axes between the large shaft (spline shaft) and the small shaft (load-bearing wheel shaft), failure to meet surface roughness standards, unbalanced process cycle times, and low machining efficiency.
These issues have severely impacted product quality and delivery schedules.
Processing Plan
Processing sequence for the Z-shaped balance elbow: rough boring of end faces and inner bores → rough turning of the large shaft → rough turning of the small shaft → finish boring of end faces and inner bores → finish turning of the large shaft → finish turning of the small shaft → milling of external contours and drilling → keyway cutting (wire-cut keyway).
The product blank is a die-forged part. During rough and finish turning of the large and small shafts, a specialized lathe fixture with counterweights must be used for clamping.
This fixture balances the centrifugal force generated during workpiece rotation, thereby reducing vibration and increasing spindle speed, which effectively improves machining accuracy and cutting speed.
Machining Processes
(1) Rough Boring of End Faces and Bores
Machining is performed using a CNC horizontal boring machine, with a 2 mm allowance left on one side for both the end faces and bores.
The primary purpose of this process is to rapidly remove a large amount of material and to create center holes for rough turning the outer diameters of the large and small shafts.
The CNC horizontal boring machine is equipped with a 360° rotating table, enabling omnidirectional machining within the XOY plane with a single setup.
It can machine four end faces and internal bores simultaneously, ensuring that the center holes for the large and small shafts are coaxial and that the centerlines of the large and small shafts are parallel.
The rough boring of the end faces and internal bores is shown in Figure 2, where the thick solid lines indicate the machined surfaces for this process.

(2) Rough Turning of the Main Shaft
Machined using a CNC lathe, with a 1.5 mm allowance on one side of the outer diameter.
The primary purpose of this process is to rapidly remove a large amount of material and to establish a machining reference for the precision boring of the end face and bore.
Since the center of gravity of the Z-shaped balancing lug is offset from the rotational center during turning, this process requires clamping using a special lathe fixture with counterweights to balance centrifugal forces, reduce vibration, and increase spindle speed.
The rough turning of the main shaft is shown in Figure 3.

(3) Rough Turning of the Small Shaft
Machining is performed on a CNC lathe, with a 1.5 mm allowance left on one side of both the outer diameter and the end face.
The primary purpose of this process is to quickly remove a large amount of material and relieve machining stresses.
The rough turning of the small shaft is shown in Figure 4.
After rough turning, both the large and small shafts have a regular outer diameter, allowing for more stable V-shaped clamping during finish boring.

(4) Finishing Boring of End Faces and Bore
This operation is performed on a CNC horizontal boring machine, using the rough turning of the large shaft’s outer diameter as the process reference and clamping reference.
The primary purpose of this operation is to machine the four end faces and the bore of the product to finished dimensions, ensuring dimensional accuracy and surface roughness, while also creating chamfers on the process centers for the finishing turning of the large and small shaft outer diameters.
The precision boring of end faces and internal bores is shown in Figure 5, where the solid lines indicate the machined surfaces for this process.

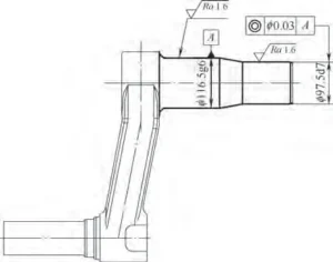
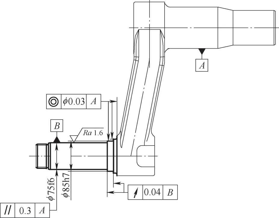
(5) Precision Turning of the Main Shaft
The main shaft is machined on a CNC lathe, with the outer diameter turned to the final dimensions to ensure dimensional accuracy, geometric accuracy, and surface roughness.
In this process, the chamfer on the center point created during the precision boring of the inner bore serves as the clamping and positioning reference, ensuring coaxiality between the outer diameter and the inner bore of the main shaft.
The precision turning of the main shaft is shown in Figure 6.

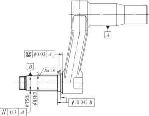
(6) Precision Turning of the Small Shaft
The small shaft is machined on a CNC lathe, with the outer diameter turned to the finished dimensions to ensure dimensional accuracy, geometric accuracy, and surface roughness.
This process uses the chamfer on the center point created during the precision boring of the inner bore as the clamping and positioning reference, thereby ensuring the coaxiality between the outer diameter and the inner bore of the small shaft, as well as the parallelism between the centerlines of the small shaft and the large shaft.
The precision turning of the small shaft is shown in Figure 7.

(7) Milling the Outer Contours and Drilling Holes
A vertical machining center is used to machine the product’s outer contours and drill holes.
The milling of the outer contours and drilling of holes are shown in Figure 8, where the solid lines indicate the machined surfaces for this process.

(8) Spline Drawing (Wire-Cut Splines)
For large production batches, this process typically employs a broaching machine in conjunction with a broach to ensure production efficiency and dimensional consistency of the spline holes.
When a broach is not available and the batch size is small, this process can be performed using a wire-cut EDM machine, with the outer diameter of the main shaft serving as the clamping and positioning reference to ensure coaxiality between the spline holes and the outer diameter of the main shaft.
The spline drawing (wire-cut spline) is shown in Figure 9, where the thick solid lines indicate the machined surfaces for this process.

At this point, the Z-shaped balance arm has completed all machining processes; the next steps will include non-destructive testing and surface treatment.
Special-Purpose Lathe Fixtures
Special-purpose lathe fixtures consist of components such as flanges, bases, support bodies, centers, counterweights, and fastening bolts.
The flange serves as the connecting element between the lathe and the fixture.
It is typically a standard flange, with one end mating to the CNC lathe spindle via a tapered bore and the other end mating to the base via a locating boss, ensuring that the rotational center of the fixture aligns with the lathe spindle.
-
Base Structure and Function
The base serves as the foundation of the lathe fixture and features an elongated slot. Support structures and two counterweights are mounted on it.
This three-point mass distribution ensures smoother workpiece rotation during machining, reduces vibration, and helps improve the outer diameter accuracy and surface quality of the product.
The support structures are welded to the base and feature elongated slots with dimensions matching those of the base’s slots.
The purpose of this slot is twofold: first, to reduce the overall weight of the lathe fixture; second, to prevent interference between the non-machined shaft of the Z-shaped balancing arm and the fixture.
Several sets of fastening bolts are provided at both ends of the slot to secure the non-machined shaft of the Z-shaped balancing arm.
The slot design enables this lathe fixture to machine Z-shaped balancing arms of various models and sizes, achieving the versatility of a single fixture for multiple applications.
-
Centering, Counterweight, and Clamping System
The design mates the center point with the locating shoulder of the support body and welds it to the support body.
During machining, the center point and the tailstock center of the lathe position at both ends of the Z-shaped balance arm’s machining shaft, forming a double-center clamping configuration.
To ensure coaxial alignment between the locating taper of the center point and the lathe spindle, technicians precision-turn the locating taper of the center point on the lathe after completing the fixture assembly.
The counterweight consists of multiple sector-shaped counterweight plates.
Operators adjust the number of counterweight plates to balance the centrifugal force generated during the machining of different models of Z-shaped balance levers.
The design places the two counterweights evenly at 120° from the center of gravity of the support body, thereby better ensuring dynamic balance during product machining.
Engineers arrange multiple sets of clamping bolts on both sides of the support body’s oblong slot to accommodate the machining of Z-shaped balancing levers of different sizes.
Figure 10 shows the clamping bolt positions; each set of clamping bolts places its centerline a distance H above the center of the non-machined shaft’s outer diameter of the Z-shaped balancing lever.
This clamping method ensures that part of the clamping force exerted by the bolts acts in opposition to the centrifugal force, effectively reducing the centrifugal force generated when the workpiece rotates.
Figures 11 and 12 respectively show the clamping configurations for machining the small shaft and the large shaft.



Verification of Machining Results
The machining process for Z-shaped balance levers and the dedicated lathe fixtures have been in use on the production line for over a year.
Operators apply this process to the machining of multiple models and large batches of Z-shaped balance levers.
The process produces stable and reliable product quality and significantly improves machining efficiency.
This fully validates the feasibility and effectiveness of the process and the dedicated lathe fixtures.
Operators show actual photographs of certain machining processes for Z-shaped balance levers in Figure 13.

Conclusion
The machining process and specialized lathe fixtures for Z-shaped balance elbows proposed in this paper are suitable for the machining of all models of Z-shaped balance elbows, regardless of material or blank type.
They provide a comprehensive approach to both the machining and clamping of these products, addressing the challenges associated with Z-shaped balance elbows—such as their complex, eccentric structure, large size, heavy weight, and high precision requirements—which previously resulted in difficulties in machining, clamping issues, inconsistent product quality, and low machining efficiency.
Field verification has confirmed that this machining process ensures Z-shaped balance crankshafts meet the required machining accuracy, reduces machining complexity, and improves product quality consistency and machining efficiency.
FAQ
Impedit egestas aliquet?
Lorem ipsum dolor sit amet, consectetur adipiscing elit. Ut elit tellus, luctus nec ullamcorper mattis, pulvinar dapibus leo.
Sapien class quo temporibus?
Lorem ipsum dolor sit amet, consectetur adipiscing elit. Ut elit tellus, luctus nec ullamcorper mattis, pulvinar dapibus leo.
Elementum voluptate sodales?
Lorem ipsum dolor sit amet, consectetur adipiscing elit. Ut elit tellus, luctus nec ullamcorper mattis, pulvinar dapibus leo.



