TonZa Making | Titanium Alloy Sealing Surface Machining: Precision Grinding and Polishing for Leak-Tight Performance

Titanium Alloy Sealing Surface Machining: Precision Grinding and Polishing for Leak-Tight Performance

Table of Contents

Titanium alloys offer a range of advantages, including low density, high specific strength, and excellent corrosion resistance.

To meet the product’s stringent corrosion resistance requirements, a titanium alloy of grade TC11 was used to manufacture a certain type of gas valve component.

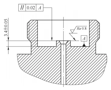
A flat-seal configuration was selected for the gas-sealing area, as shown in Figure 1.

The end face of the boss serves as the gas-sealing surface, with a required surface roughness value of Ra = 0.8 μm and a height of (3.4 ± 0.05) mm.

The parallelism between the two mating surfaces must be ≤ 0.02 mm.

Figure 1 Schematic of the part's sealing structure
Figure 1 Schematic of the part’s sealing structure

Process Challenges

Before process improvements, the product’s airtightness was consistently poor. When leak detection fluid was applied to the sealing area, discontinuous bubbles frequently appeared at intervals of 4 to 5 seconds.

Upon disassembling the defective parts and examining the sealing surfaces under a microscope, shallow scratches and minute cavitation pits were observed.

A sealing surface with scratches is shown in Figure

2. These scratches and cavitation pits compromised the surface integrity of the parts, creating microscopic gas leakage pathways between the high-pressure and low-pressure zones, resulting in the failure of the product’s airtightness.

Figure 2 Sealing surface with scratches
Figure 2 Sealing surface with scratches

To eliminate these machining defects and improve the surface quality of the sealing surfaces, finishing processes such as grinding and polishing must be employed.

The following challenges must be addressed during this process.

1) During grinding and polishing, titanium alloy tends to adhere to the grinding wheel or abrasive tools, clogging the pores and making it difficult to meet high surface quality requirements.

2) Sealing surfaces have strict requirements for geometric and dimensional tolerances.

The components forming the face seal must have parallel contact surfaces, and the surface roughness must meet the relevant grade.

If a method involving rough grinding on a grinding machine followed by belt polishing on a lathe is used, one must not only account for errors caused by the two separate setups for rough grinding and polishing but also overcome the machining errors resulting from manual polishing operations.

High-precision automatic belt grinding can meet the machining accuracy requirements, but it is prohibitively expensive.

Solution

  • Equipment

To address the above issues while leveraging existing resources, a turning-milling center equipped with a high-precision lathe spindle, a tool turret, a milling spindle, and multi-axis control was selected as the machining equipment.

By utilizing its multi-axis machining capabilities, the rough grinding and polishing operations can be completed in a single setup, thereby eliminating machining errors caused by double setups.

The system’s high machining accuracy and multi-axis functionality enable in-process dressing of the grinding head, ensuring machining precision.

  • Grinding Head

Selecting the appropriate machining tools is essential for the rough grinding and polishing of titanium alloys.

Elastic grinding heads with a foam substrate offer excellent wear resistance, high porosity, and strong chip-carrying capacity, giving them a natural advantage in the machining of titanium alloys.

Since green silicon carbide (GC) abrasives exhibit low adhesion to titanium alloys, resulting in low grinding forces and low grinding temperatures, green silicon carbide foam polishing wheels are selected as the polishing tools.

The green silicon carbide elastic grinding heads and their clamping systems are shown in Figure 3, where Figure 3a depicts a 150-grit grinding head for rough grinding and Figure 3b depicts a 300-grit grinding head for polishing.

Figure 3 Elastic grinding head with green silicon carbide abrasive and its clamping system
Figure 3: Elastic grinding head with green silicon carbide abrasive and its clamping system

Grinding Head Installation and Dressing Requirements

To ensure strict geometric tolerance accuracy of the boss, the grinding head must be clamped in a milling turret, and the end face of the grinding head must be dressed online using a turning tool turret.

PCD (polycrystalline diamond) turning tools are recommended; if conditions permit, single-crystal diamond turning tools or diamond styluses may be used.

The dressed grinding head must meet the following conditions: no burrs or other foreign matter, a smooth and continuous surface, and an axial runout of ≤0.01 mm after installation.

Grinding Head Wear Mechanism and Risks

During machining, the grinding head will experience the following types of wear: a decline in the surface quality of the grinding head end face, with the appearance of slight annular wear marks; as time progresses, the color of the worn area will continue to darken; if not dressed on time, the worn area will develop annular indentations.

At this stage, the grinding head’s machining accuracy will be significantly reduced, and a large fillet will form at the edge of the boss, compromising dimensional accuracy and the shape of the sealing surface, resulting in the scrap of the part.

During machining, the condition of the grinding head must be checked promptly; machining with a dull tool is prohibited, and the grinding head must be dressed promptly.

The wear of an elastic grinding head is shown in Figure 4.

Figure 4 Schematic of wear on an elastic grinding head
Figure 4 Schematic of wear on an elastic grinding head

Important notes during machining:

Set an appropriate tool length compensation value based on the required stock removal and grinding efficiency to ensure that the grinding head undergoes a certain degree of elastic deformation during the machining process, thereby providing reliable grinding force.

If the elastic deformation is too small, the cutting force will be insufficient, leading to low machining efficiency, failure to remove turning marks, and a decline in surface finish quality.

Conversely, if the elastic deformation is excessive, it can cause excessive local deformation at the contact line between the grinding head and the edge of the boss, leading to machining defects such as edge collapse.

Through multiple process trials, the optimal elastic deformation

  • Grinding and Polishing Methods

During rough grinding, a milling-grinding process is employed, using the end face of the grinding head to polish the end face of the boss.

The high-speed rotating grinding head moves radially along the boss in a straight line, while the part rotates at a low feed rate. Rough grinding can remove machining defects efficiently.

For fine polishing, a profile grinding method is used, employing the end face of the grinding head to polish the end face of the boss.

The high-speed rotating grinding head moves axially along the boss, while the workpiece remains stationary.

After completing the feed, the grinding head pauses on the workpiece end face for 3–5 seconds.

Fine polishing effectively improves the surface quality of the sealing surface.

Review of relevant literature indicates that as the grinding head speed increases, the material removal rate increases and the workpiece surface roughness decreases.

This is consistent with the results of process trials.

However, since the wear rate of the grinding head also increases, the spindle speed should be moderate.

During rough grinding, the grinding head speed n = 1,500 r/min, the feed rate vf = 20 mm/min, the workpiece speed n₁ = 200 r/min, and the feed per pass is 0.05 mm.

For fine polishing, the grinding head speed is n = 3000 r/min, and the feed rate is vf = 10 mm/min.

During inspection, note the following: Observe the surface using a microscope; the machined surface of the part must exhibit uniform, concentric circular tool marks, and must be free of machining defects such as radial scratches, burn marks, and cracks.

Verification of Improvement Measures

Following the aforementioned process improvements, the machining process was verified on the parts.

Note: Before machining, ensure that the coolant is free of chips after filtration.

Replace the coolant promptly after machining is complete.

This prevents abrasive particles from entering the machine tool’s guideways and other areas. Prolonged use may compromise the machine tool’s accuracy.

Comparison of Machining Methods

The following two methods verified the machining process.

1) Method 1: Select profile grinding for both rough and finish polishing.

2) Method 2: Select milling-grinding for rough polishing and profile grinding for finish polishing.

Both methods used the same machining parameters. Figure 5 shows the machining results of Method 1.

The machined surface exhibits dark grooves of varying intervals, which indicate remaining traces of the turning tool and result in poor surface quality.

Figure 6 shows the machining results of Method 2.

The machined texture is fine and uniform, with no turning marks or scratches.

Figure 5 Results of Method 1
Figure 5 Results of Method 1
Figure 6 Results of Method 2
Figure 6 Results of Method 2

A comparison shows that Method 2 completely removes tool marks, ensuring a smooth, polished surface with finer, more uniform grain, and is therefore superior to Method 1.

Dimensional Accuracy and Tolerance Evaluation

A coordinate measuring machine measured the dimensions and geometric tolerances of the parts after polishing; Table 1 shows the results.

Stage Flatness Relative to Datum A Height Dimension 1 Height Dimension 2 Height Dimension 3
Before Machining 0.0085 3.3917 3.3978 3.3913
After Machining 0.0050 3.3857 3.3826 3.3804

Table 1 – Dimensions and Geometric Tolerances After Polishing (Unit: mm)

As shown in Table 1, the material removal during polishing was approximately 0.01 mm.

Geometric tolerance accuracy improved and surface quality increased significantly following the process.

The process results were verified by subjecting the polished parts to a leak test.

Under a pressure of 16 MPa, the parts met the leak-tightness requirements, demonstrating the effectiveness of the improvement measures.

Conclusion

This process improvement fully leverages multi-axis CNC equipment to address challenges in the polishing of titanium alloy materials and enhance the surface quality of sealing surfaces.

During the machining of valve body components, the use of such elastic grinding heads also enables CNC operations such as removing tool marks and cleaning burrs and sharp edges, yielding excellent machining results.

FAQ

Lorem ipsum dolor sit amet, consectetur adipiscing elit. Ut elit tellus, luctus nec ullamcorper mattis, pulvinar dapibus leo.

Lorem ipsum dolor sit amet, consectetur adipiscing elit. Ut elit tellus, luctus nec ullamcorper mattis, pulvinar dapibus leo.

Lorem ipsum dolor sit amet, consectetur adipiscing elit. Ut elit tellus, luctus nec ullamcorper mattis, pulvinar dapibus leo.

Scroll to Top